Diagram Coffee Maker Parts

If you are looking for diagram coffee maker parts you’ve come to the right place. We have 30 images about diagram coffee maker parts including images, pictures, photos, wallpapers, and more. In these page, we also have variety of images available. Such as png, jpg, animated gifs, pic art, logo, black and white, transparent, etc.

kenmore coffeemaker parts model  sears partsdirect

Not only diagram coffee maker parts, you could also find another pics such as Simple, Hamilton Beach, Bunn, Cuisinart, Bunn Personal, Black Decker, Keurig K130, Keurig 575, For Curtis G3 Alpha, Home BUNN, and 58030.

kenmore coffeemaker parts model  sears partsdirect 1430 x 1398 · png

kenmore coffeemaker parts model sears partsdirect

Download Image

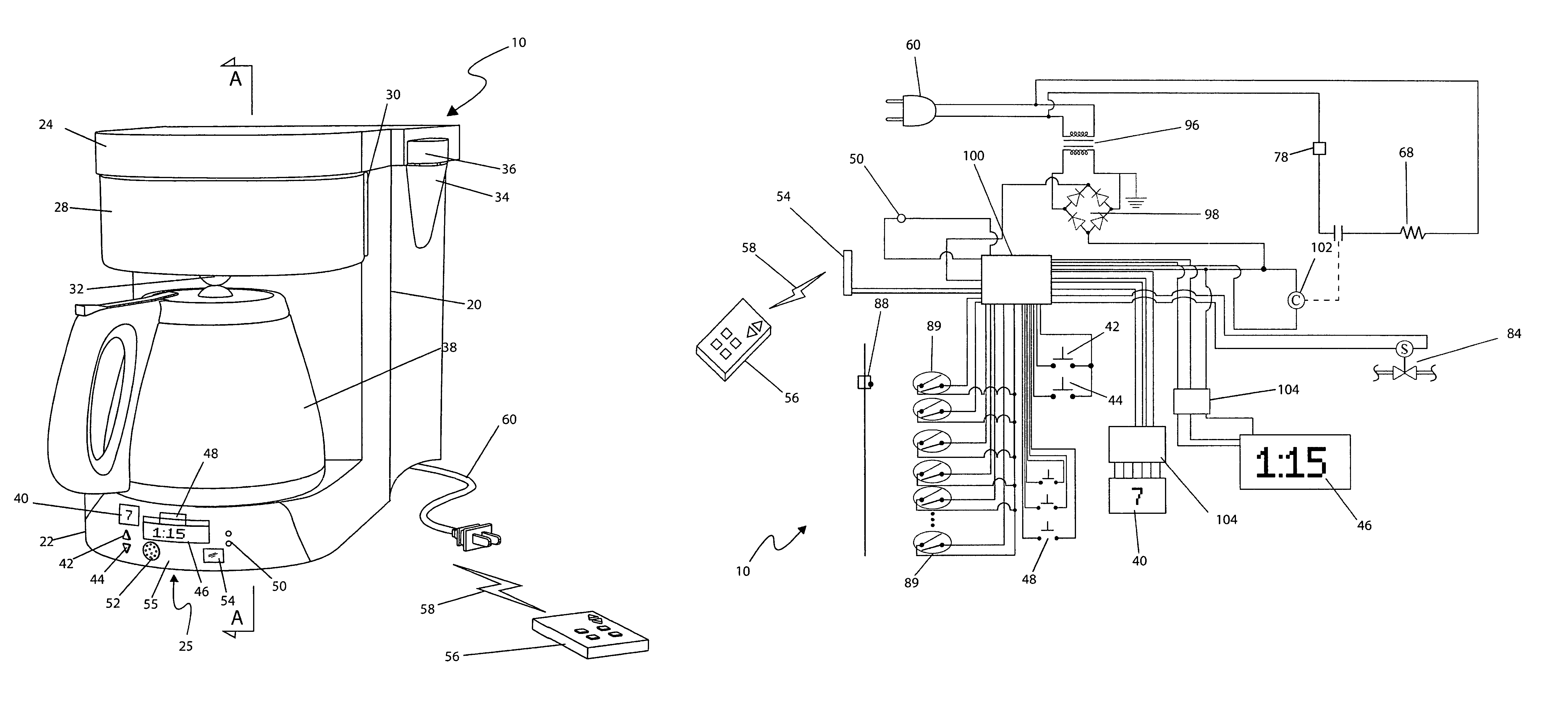
bunn coffee maker parts diagram wiring diagram 1592 x 1557 · png

bunn coffee maker parts diagram wiring diagram

Download Image

kenmore coffee maker parts model  sears partsdirect 1989 x 1888 · png

kenmore coffee maker parts model sears partsdirect

Download Image

bunn coffee maker parts diagram bunn coffee brewer  warmer vlpf 1165 x 630 · jpeg

bunn coffee maker parts diagram bunn coffee brewer warmer vlpf

Download Image

bunn coffee maker parts diagram bunn coffee brewer  warmer 1165 x 1800 · jpeg

bunn coffee maker parts diagram bunn coffee brewer warmer

Download Image

bunn coffee maker parts diagram wiring diagram  bunn grx  parts 500 x 445 · jpeg

bunn coffee maker parts diagram wiring diagram bunn grx parts

Download Image

keurig coffee maker parts diagram reviewmotorsco 1696 x 2200 · png

keurig coffee maker parts diagram reviewmotorsco

Download Image

bunn coffee maker parts diagram clean  bunn nhbx   cup coffee 522 x 395 · jpeg

bunn coffee maker parts diagram clean bunn nhbx cup coffee

Download Image

bunn coffee maker parts diagram coffee consumers bunn btxb 590 x 630 · gif

bunn coffee maker parts diagram coffee consumers bunn btxb

Download Image

coffee coffee maker nlx ereplacementpartscom 590 x 829 · gif

coffee coffee maker nlx ereplacementpartscom

Download Image

krups coffee maker kmdda ereplacementpartscom 620 x 736 · gif

krups coffee maker kmdda ereplacementpartscom

Download Image

coffee parts diagram diagram resource gallery 400 x 373 · gif

coffee parts diagram diagram resource gallery

Download Image

bunn coffee maker parts diagram bunn   parts diagram parts town 505 x 630 · jpeg

bunn coffee maker parts diagram bunn parts diagram parts town

Download Image

easy coffee maker    coffee maker dimensions 2094 x 2692 · png

easy coffee maker coffee maker dimensions

Download Image

coffee machine wiring diagram   qstionco 2129 x 2488 · png

coffee machine wiring diagram qstionco

Download Image

keurig coffee maker parts diagram 832 x 960 · jpeg

keurig coffee maker parts diagram

Download Image

kitchenaid kcmer coffee maker parts sears partsdirect 3348 x 4623 · png

kitchenaid kcmer coffee maker parts sears partsdirect

Download Image

keurig coffee maker parts diagram  wiring diagram 2550 x 3300 · jpeg

keurig coffee maker parts diagram wiring diagram

Download Image

bunn coffee maker parts diagram   bunn coffee parts 5303 x 2407 · png

bunn coffee maker parts diagram bunn coffee parts

Download Image

delonghi coffee maker parts diagram reviewmotorsco 806 x 792 · gif

delonghi coffee maker parts diagram reviewmotorsco

Download Image

cuisinart coffee maker parts diagram reviewmotorsco 590 x 837 · gif

cuisinart coffee maker parts diagram reviewmotorsco

Download Image

coffee schematic diagram 590 x 837 · gif

coffee schematic diagram

Download Image

diagram shows  parts   coffee maker testbig 325 x 252 · png

diagram shows parts coffee maker testbig

Download Image

bunn coffee maker parts diagram support bunn retail site 818 x 630 · jpeg

bunn coffee maker parts diagram support bunn retail site

Download Image

presto model  coffeetea maker genuine parts 736 x 671 · png

presto model coffeetea maker genuine parts

Download Image

bunn nhbx parts diagram wiring diagram 600 x 356 · jpeg

bunn nhbx parts diagram wiring diagram

Download Image

cuisinart coffee maker parts diagram diagram 855 x 1018 · png

cuisinart coffee maker parts diagram diagram

Download Image

purchasing hamilton beach coffee maker parts 768 x 762 · png

purchasing hamilton beach coffee maker parts

Download Image

coffee coffee maker ftx ereplacementpartscom 590 x 569 · gif

coffee coffee maker ftx ereplacementpartscom

Download Image

bunn coffee maker parts diagram bxb    gambar 620 x 840 · jpeg

bunn coffee maker parts diagram bxb gambar

Download Image

Don’t forget to bookmark diagram coffee maker parts using Ctrl + D (PC) or Command + D (macos). If you are using mobile phone, you could also use menu drawer from browser. Whether it’s Windows, Mac, iOs or Android, you will be able to download the images using download button.

Next Post Previous Post